考虑荷载与浸水条件的预崩解炭质泥岩变形与强度试验
2019年06月05日 10:35         所属学院: []          点击:


湖南省大学生研究性学习和创新性实验计划

项  目  申  报 

 

项目名称: 

  • 如果您无法在线浏览此 PDF 文件,则可以

  • 下载免费小巧的 福昕(Foxit) PDF 阅读器,安装后即可在线浏览  或

  • 下载免费的 Adobe Reader PDF 阅读器,安装后即可在线浏览  或

  • 下载此 PDF 文件

学校名称

MG冰球突破官网

学生姓名

学  号

专      业

性 别

入 学 年 份

陈少壮

201608020910

土木工程

2016

禹乐诗

201608020904

土木工程

2016

刘大顺

201608021134

土木工程

2016

邹嘉瑶

201708020237

土木工程

2017

郭嘉坤

201708020211

土木工程

2017

指导教师

曾铃

职称

讲师

项目所属

一级学科

土木工程

项目科类(理科/文科)

理科

学生曾经参与科研的情况

已完成的科研课题:

1.MG冰球突破官网学生科技立项项目:在低温状态下轻集料混凝土的吸水性与吸湿性研究

项目负责人:陈少壮    指导老师:周德泉

2.MG冰球突破官网学生科技立项项目:国学对塑造大学生健全心理和提高道德素质的必要性研究

项目参与人:刘大顺    指导老师:钟武强

学生科研情况介绍:

陈少壮,MG冰球突破官网土木工程学院土木工程专业16级学生,曾参加李传习教授团队国家自然基金项目,多次参加结构力学竞赛、数学竞赛、百科知识竞赛等,具有较丰富的专业知识储备,曾获得MG冰球突破官网结构力学竞赛校级一等奖,MG冰球突破官网材料与地质知识竞赛三等奖等,具有较强的创新意识,曾参加20142015年山东省数学竞赛,并分别获省一、二等奖。

禹乐诗,MG冰球突破官网土木工程学院土木工程专业16级学生,学习成绩排名专业第一,曾参与学习李传习教授团队国家自然基金项目,有较强的创新意识。大一期间参与获得MG冰球突破官网结构力学竞赛三等奖,获得MG冰球突破官网数学竞赛三等奖。

刘大顺,MG冰球突破官网土木工程专业16级学生,学习成绩年级前列,积极参加学校的科技立项活动及MG冰球突破官网结构设计竞赛,取得了校级三等奖的成绩,并在岩土实验室做了一学期助理,有较强的动手能力。

郭嘉坤,MG冰球突破官网土木工程专业17级学生,学习成绩优异,积极参加学校举办的科技创新活动,具有较强的动手实践能力,高中阶段参加省航模竞赛获得三等奖,有较强的创新意识。

邹嘉瑶,MG冰球突破官网土木工程专业17学生,学习成绩优秀,积极参加学校举办的创新活动、实验操作与技能竞赛,具有较强的动手能力,对预崩解炭质泥岩的变形及强度特性有浓厚的兴趣。

 

指导教师承担科研课题情况

曾铃博士,从事非饱和土渗流及边坡稳定性方面的应用基础研究,主持了1项国家自然青年科学基金(51508040),参与了十二五国家科技支撑课题子课题(2014BAC09B01-02)、湖南省科技计划重点项目等国家、部级项目,指导本科生完成了大学生科技立项1项(结题优秀,校级一等奖)。已经发表了与本试验结果有联系的学生论文数篇,鉴于此,邀请曾铃老师作为本项目的指导教师。

指导老师主持的课题:

1.国家自然科学基金青年科学基金项目,51508040,炭质泥岩路堤动力湿化变形及损伤失稳机理研究,2016/01-2018/1220万元,在研,主持人:曾铃

2.MG冰球突破官网土木工程重点学科创新性项目,12ZDXK082015/01-2016/124万元,结题,主持人:曾铃

项目研究和实验的目的、内容和要解决的主要问题

1 研究和试验的背景

炭质泥岩广泛分布于我国西南地区,是由软弱灰岩、砂岩、页岩和页岩互层等沉积类岩石构成的地质体。预崩解炭质泥岩作为路堤填筑材料既可极大地降低工程造价并能较好地保护生态环境,已在广西、云南等省高速公路工程中推广应用。经推广应用发现其水理性强、强度低、易崩解,在季节性反复降雨后,预崩解炭质泥岩产生持续崩解及强度劣化,堵塞路堤排水管道,导致路堤内部处于荷载与浸水环境,产生超限变形,甚至引发路堤失稳(如图1),危害行车安全。因此,为避免或减少炭质泥岩路堤失稳等灾害,有必要全面深入地研究荷载与浸水条件下预崩解炭质泥岩变形及强度变化特征。

          

1 荷载与浸水条件下炭质泥路堤失稳现象

2 研究和试验的目的

通过试验的实施,可以获知荷载与浸水共同作用下预崩解炭质泥岩的变形特性及强度规律,进而得到预崩解炭质泥岩抗剪强度与变形的关系。研究成果将为炭质泥岩路基变形机理及长期变形预测方法研究和炭质泥岩分布地区的路基设计、建设、维护提供试验和理论依据,具有一定的理论价值及现实意义,且对提高学生的科研兴趣及动手能力具有促进作用。

3 试验实施的内容

(1) 湿化变形装置的设计。通过对西南地区炭质泥岩路堤失稳案例进行调查,发现荷载与干湿循环是路堤失稳的重要原因,需要设计可以对试样施加荷载的湿化变形装置。该装置由三部分组成,第一部分为试验装置,试验装置为底部设有排水孔的合金圆筒;第二部分为加载装置,加载装置为放置在底座上的杠杆加载仪;第三部分为测量装置,测量装置为两个端部设有百分表的支架。

(2) 正交试验方案的制定。正交试验是研究多因素多水平的一种科学设计方法,可高效、快速、经济地分析出各因素对试验结果的影响。首先确定压实度、含水率、竖向荷载、浸水时间及循环次数为五个因素,每个因素取4个水平;再在正交试验软件中输入相应的因素与水平;最后可以得到5因素4水平下的正交实验表。

(3) 湿化变形试验实施与数据的获得。在完成前文所述的两个实验步骤实的基础上,在公路工程试验中心试验大厅进行预崩解炭质泥岩湿化变形试验。首先对湿化变形装置进行调平,调节试验仪器左端杠杆上的调平砝码的位置,使之与未加砝码前右端杠杆保持平衡,并用螺母将其固定;其次,将制好的试样装入试验装置内,并对试样进行加载,同时按照试验方案进行浸水与循环;再之,将百分表安装在加载盖上,并将百分表的指针调零,注意预留试样的变形量,通过百分表的读数连续记录试样竖向变形量。最后,对得到的试验数据进行整理,并结合正交试验原理分析各因素对湿化变形的影响。

(4) 直接剪切试验的实施与数据的获得。在完成上述的三个实验步骤实的基础上,取湿化变形后的试样进行直接剪切试验。整个剪切试验的操作步骤严格按公路土工试验规程(JTG E40—2007)的要求执行。收集并处理剪切试验的数据,进而研究炭质泥岩的抗剪强度特性,最后得到抗剪强度对变形之间的关系。

4 试验解决的主要问题

通过本项目试验的实施,拟解决以下2个问题:

(1) 炭质泥岩水理性强、强度低、易崩解,在季节性反复降雨后,路堤内部处于荷载与浸水环境,易产生超限变形,甚至引发路堤失稳,危害行车安全。因此,本项目通过试验的方式获得荷载与浸水条件下的预崩解炭质泥岩的变形特性成为本试验解决的主要问题之一。

(2)炭质泥岩的强度对路堤稳定性有重要影响,荷载及浸水条件可导致土体抗剪强度降低,而绝大多数路堤失稳都是由于土体抗剪强度不足引起。本项目通过应变控制式直剪仪测试湿化变形试验后的试样的抗剪强度指标,分析得到炭质泥岩强度特性及其与变形的关系,成为本实验解决的主要问题之二。

国内外研究现状和发展动态

炭质泥岩广泛分布于我国西南地区,其作为路堤填料已被推广应用[1],季节性反复降雨使路堤内部处于荷载与浸水状态。已有研究表明,荷载及浸水条件可导致土体抗剪强度降低,进而产生超限湿化变形,且绝大多数路堤失稳都是由于土体抗剪强度不足引起[2-3]。炭质泥岩路堤失稳等灾害与填筑材料的强度劣化及超限变形密切相关,有必要全面深入地研究荷载与浸水条件下预崩解炭质泥岩变形及强度变化特征。因此,许多学者分别采用现场监测、室内试验、数值模拟等方法对公路路堤变形及强度特性进行了深入的探讨。现将路堤变形及强度特性方面国内外学者目前所从事的研究工作进行简要的介绍。

国内外学者针对岩土体的湿化变形已作大量研究,王辉[4]、迟世春[5]等学者认为湿化变形这个概念最早来源于土石坝等水利工程,指土石料填筑体在一定应力状态下浸水,由于部分颗粒浸水软化破碎以及浸水润滑颗粒接触等原因而使颗粒发生相互滑移、破碎和重新排列,从而产生变形,并使土体中的应力发生重分布的现象;谈云志等[6]认为路基土体变形主要包括压缩变形及增湿变形两部分,压缩变形一般会趋向稳定,而因受季节性的气候反复作用,增湿变形将不断累积,路基土体的后期沉降主要取决于由于含水率变化所产生的增湿变形;刘新喜等[7]对复杂应力下的强风化软岩湿化变形进行了试验研究,认为提高路基填土的压实度可有效减少湿化变形;邹德高[8]、杨贵[9]等利用数值模拟的方法研究了岩土体的湿化变形,为相关工程设计提供一定参考依据;毛雪松等[10]、冯蕊[11]等通过原位试验及现场监测对岩土体的变形进行了深入研究,并取得了卓有成效的研究成果;Liu Xinrong[12]Wang L L[13]等依次针对岩土体的浸水变形开展了大样本的室内试验研究,得到了不同类岩土体的应力-应变曲线,并初步掌握了相关岩土体变形特性的一般规律。申请者所在研究团队也在炭质泥岩填筑路堤的变形方面开展了许多研究工作,笔者[14-17]采用数值模拟方法研究了各种降雨条件下炭质泥岩路堤边坡的稳定性,并探讨了降雨强度、土体饱和渗透系数、土体饱和含水率等降雨入渗参数变化条件下炭质泥岩路堤暂态饱和区时空响应规律。同时还开展了炭质泥岩-土分层路堤在浸水条件下的渗流及变形特征试验,为研究复杂条件下的炭质泥岩路堤湿化变形规律提供了技术及经验积累。除此以外,还有许多学者针对岩土体的变形特性开展了许多研究工作,得到了一些有益的结论。

抗剪强度是土体的重要力学性质,它的准确确定在土的工程性质分析中尤为重要。由于强降雨过程中负孔隙水压力的消失和干湿循环等因素导致的土体强度的降低,路堤失稳等工程问题时有发生。国内外学者针对岩土体的抗剪强度也进行了大量研究,吴珺华[18]Ulusay R[19]、刘文华[20]等进行了干湿循环作用下不同岩土体的抗剪强度试验研究,对干湿循环前后岩土体的强度进行了对比,表明干湿循环后岩土体的抗剪强度均有一定程度的下降;Zhang B Y [21]、刘翔[22]等利用三轴仪分别对粗粒料和花岗岩全风化土湿化变形后的抗剪强度进行了研究,得到了不同围压、不同湿化应力水平下的湿化情况及轴变与体变间的变化规律。分析表明,试样在湿化过程中均产生了轴变与体变,并且经湿化变形后产生了各向异性。当初始有效围压相同时,各湿化应力水平下的抗剪强度指标cφ值近似相等,与干样相比,湿样的黏聚力c值减少明显,内摩擦角φ值变化不大。

综上所述,国内外针对岩土体的变形及强度特性研究虽取得了较为丰硕的成果,促进了岩土体湿化变形及抗剪强度相关理论的发展,但仍有一些问题有待研究。首先,现有研究主要针对粗颗粒、膨胀土、风化土等岩土体,而关于预崩解炭质泥岩湿化变形与抗剪强度的室内实验、数值计算及理论研究却鲜有报道,尤其关于抗剪强度与湿化变形关系的研究寥寥可数,且预崩解炭质泥岩与其他类岩土体的变形与强度存在显著差异,例如,其水理性强,高温、降雨交替作用后表面快速剥落,强度迅速降低,适用于其他类岩土体的相关理论并不一定适用于炭质泥岩,室内试验试样尺寸小,费用低,是获取大样本数据的优选方法,因此可通过室内试验对其性能进行研究;其次,季节性降雨使得路堤经受反复干湿循环,长期处于荷载与浸水条件下,对边坡的变形和稳定产生不可忽视的影响[11~12]而关于荷载与浸水条件下岩土体变形特性及强度规律的研究较少,因而有必要研究各因素对预崩解炭质泥岩变形特性及抗剪强度的影响。

参考文献

[1] 曾铃,邱祥,付宏渊,等.水位升降过程中崩解预处理炭质泥岩路堤稳定性分析[J].中国公路学报,201730(05)10-19.

[2] 曾铃,付宏渊,贺炜,等. 三轴CT条件下预崩解炭质泥岩路堤填料的细观试验[J]. 中南大学学报(自然科学版)201445(03)925-931.

[3] Lu N, Wayllace A, Oh S. Infiltration-induced seasonally reactivated instability of a highway embankment near the Eisenhower Tunnel, Colorado, USA[J]. Engineering Geology, 2013, 162(14): 22-32.

[4] 王辉. 小浪底堆石料湿化特性及初次蓄水时坝体湿化计算研究[D]. 北京: 清华大学, 1992.

[5] 迟世春,周雄雄. 堆石料的湿化变形模型[J]. 岩土工程学报,2017,39(01):48-55.

[6] 谈云志,孔令伟,郭爱国,. 压实红黏土的湿化变形试验研究[J]. 岩土工程学报,2011,33(03):483-489.

[7] 刘新喜,夏元友,刘祖德,陈向阳,宁齐元. 复杂应力下强风化软岩湿化变形试验研究[J]. 岩石力学与工程学报,2006,(05):925-930.

[8] 邹德高,杨小龙,刘京茂,等. 西域砾岩砂砾料沥青混凝土心墙坝湿化变形数值分析[J]. 大连理工大学学报,201555(06)605-611.

[9] 杨贵,刘汉龙,朱俊高. 粗粒料湿化变形数值模拟研究[J]. 防灾减灾工程学报,201232(05)535-538+551.

[10] 毛雪松,郑小忠,马骉,等. 风化千枚岩填筑路基湿化变形现场试验分析[J]. 岩土力学,201132(08)2300-2306.

[11] 冯蕊,何蕴龙. 深厚覆盖层上高砾石土心墙堆石坝变形监测分析[J]. 岩土力学,201536(S2)485-491+506.

[12] LIU XinrongQI DaheYU Yuet al. Analysis on wetting deformation properties of silty clay[J]. Journal of Engineering Science & Technology Review20147(03)39-44.

[13] Wang L LBornert MHéripré Eet al. Irreversible deformation and damage in argillaceous rocks induced by wetting/drying[J]. Journal of Applied Geophysics2014107(05)108-118.

[14] 曾铃,付宏渊,何忠明等.饱和-非饱和渗流条件下降雨对粗粒土路堤边坡稳定性的影响[J].中南大学学报(自然科学版),2014,4510):3614-3620.

[15] 曾铃,付宏渊,贺炜等.降雨入渗因素对炭质泥岩路堤边坡稳定性的影响[J].公路交通科技,2013,303):39-44.

[16] 蒋中明,曾铃,付宏渊.极端久雨条件下软岩边坡动态稳定性分析[J].中国公路学报,2014,272):27-34.

[17] 付宏渊,史振宁,邱祥,曾铃.炭质泥岩-土分层路堤在浸水条件下的渗流及变形特征试验[J].中国公路学报,2017,30(11):1-8+98.

[18] 吴珺华,袁俊平. 干湿循环下膨胀土现场大型剪切试验研究[J]. 岩土工程学报,201335(S1)103-107.

[19] Ulusay R, Karakul H. Assessment of basic friction angles of various rock types from Turkey under dry, wet and submerged conditions and some considerations on tilt testing[J]. Bulletin of Engineering Geology & the Environment, 2015, 28(4):1-17.

[20] 刘文化,杨庆,唐小微,等. 干湿循环条件下不同初始干密度土体的力学特性[J]. 水利学报,201445(03)261-268.

[21] Zhang B Y, Zhang J H, Sun G L. Deformation and shear strength of rockfill materials composed of soft siltstones subjected to stress, cyclical drying/wetting and temperature variations[J]. Engineering Geology, 2015, 190:87-97.

[22] 刘翔,陈国兴,孙田. 花岗岩全风化土湿化变形及强度的试验研究[J]. 岩土力学,201233(11)3313-3317.

本项目学生有关的研究积累和已取得的成绩

曾铃老师主讲《土力学》课程时,介绍了降雨对公路与存在荷载将对预崩解炭质产生很大影响的范例,使用视频及图片的方式使试验小组了解到目前炭质泥岩等具有崩解特征的软岩将大量的被运用于路堤填筑工程中,但在荷载与浸水条件下炭质泥岩的变形和强度还需要进一步研究。通过课后与指导老师的交流,激发了课题组成员对荷载与浸水条件下的物理力学特性变化产生了浓厚兴趣。

本项目学生主要为2016级与2017级土木工程大类的本科生,虽然都处于低年级学生,但已经有三位学生都分别参加了各类校级科研课题与科技立项,获得了校级一等奖,并有两名同学曾参加过李传习教授团队国家自然基金项目,有一名同学曾在岩土实验室做了一学期助理,有较强的动手能力与实验素养。

1承担人陈少壮在周德全老师的指导下主持完成了课外科技立项项目(2017年科技立项),在低温状态下轻集料混凝土的吸水性与吸湿性研究,该项目主要通过试验完成。另外,还参与了MG冰球突破官网结构力学竞赛(2016届),培养了试验动手能力,对试验仪器的操作比较熟悉,为本试验的开展提供了技术支撑。

2承担人禹乐诗2017参与完成了MG冰球突破官网学生科技立项项目斜拉荷载作用下扩底桩的工程性状具有较强的创新意识及数据处理能力,也将为本次试验的实施提供技术保障。

3承担人刘大顺在钟武强老师的指导下负责了课外科技立项项目(2017年科技立项),国学对塑造大学生健全心理和提高道德素质的必要性研究,并岩土实验室做了一学期助理,有较强的动手能力。

 

项目的创新点和特色

国内外学者单独针对岩土体的湿化变形或抗剪强度已作大量研究,其成果促进了岩土体湿化变形及抗剪强度相关理论的发展,但考虑荷载及干湿循环共同影响的炭质泥岩路堤的变形和强度特性研究鲜有所见,综合分析,本项目的主要创新之处有:

1)现有研究主要针对粗颗粒、膨胀土、风化土等岩土体,而关于预崩解炭质泥岩湿化变形与抗剪强度的室内实验、数值计算及理论研究却鲜有报道,尤其关于抗剪强度与湿化变形关系的研究寥寥可数,且预崩解炭质泥岩与其他类岩土体的变形与强度存在显著差异,例如,其水理性强,高温、降雨交替作用后表面快速剥落,强度迅速降低,适用于其他类岩土体的相关理论并不一定适用于炭质泥岩,因此,炭质泥岩复杂的物理、力学性质则成为项目的特色之一。

2季节性降雨使得路堤经受反复干湿循环,长期处于荷载与浸水条件下,对路堤的变形和稳定产生不可忽视的影响,而关于荷载与浸水条件下岩土体变形特性及强度规律的研究较少,因而同时考虑荷载与浸水等多因素对预崩解炭质泥岩变形特性及抗剪强度的影响成为本项目研究的特色之二。

项目的技术路线及预期成果

1 技术路线

(1)试验流程与规范

试验流程:

方案设计试验实施数据处理项目结题。

试验规范:

[1]  中华人民共和国交通部. JTG E402007 公路土工试验规程[S]. 北京:人民交通出版社,2007

[2]  中华人民共和国交通部. JTG D30—2015 公路路基设计规范[S]. 北京:人民交通出版社,2015

本项目的技术路线如图2所示:

2  技术路线图

(2)试验方案设计

本项目的实施主要包括四个部分,分别为正交试验方案的制定、湿化变形装置的设计与制作、湿化变形试验实施与数据的收集、处理及分析、直接剪切试验的实施与数据的获得。以下便主要从这四个方面进行详细说明。

正交试验方案设计

正交试验是研究多因素多水平的一种科学设计方法,可高效、快速、经济地分析出各因素对试验结果的影响。它是根据正交性从全面试验中挑选出部分有代表性的点进行试验,这些有代表性的点具备了均匀分散,齐整可比的特点,正交试验设计是分式析因设计的主要方法。以3水平3因素为例,均匀试验须进行33次共27次试验,而利用正交设计原理,只需要进行9组试验,9个试验点分布见图3

 

3  试验点分布图

1 试验因素水平

水平

因素

压实度

含水率

竖向荷载/kPa

浸水时间/h

循环次数

I

92%

6%

0

0

0

II

94%

10%

50

24

1

III

96%

14%

100

48

2

IV

98%

18%

200

72

3

结合炭质泥岩路堤的工程实际,采用正交试验研究压实度、含水率、竖向荷载、浸水时间及循环次数对预崩解炭质泥岩湿化变形的共同作用,设置5因素4水平,共16组试验,考虑到土工试验可能存在一定误差,故每组试验做3组平行试验,试验结果取3组试验的平均值。考虑路堤填筑工程中炭质泥岩压实度一般控制在90%以上,因而拟定4种压实度分别为92%94%96%98%;考虑自然状态下含水率在10%左右浮动,故配置土样含水率为6%10%14%18%;由于路堤10m深处地应力大致为200kPa,竖向荷载可取0kPa50kPa100kPa200kPa;考虑干湿循环影响浸水时间取0h24h48h72h;试验发现循环次数3次后,变形基本稳定,故循环次数分别取0123次。试验因素水平及试验方案分别见表1、表2

2  正交试验方案

编号

压实度

含水率

竖向荷载/kPa

浸水时间/h

循环次数

T1

I

I

I

I

I

T2

I

II

II

II

II

T3

I

III

III

III

III

T4

I

IV

IV

IV

IV

T5

II

I

II

III

IV

T6

II

II

I

IV

III

T7

II

III

IV

I

II

T8

II

IV

III

II

I

T9

III

I

III

IV

II

T10

III

II

IV

III

I

T11

III

III

I

II

IV

T12

III

IV

II

I

III

T13

IV

I

IV

II

III

T14

IV

II

III

I

IV

T15

IV

III

II

IV

I

T16

IV

IV

I

III

II

 湿化变形试验装置的设计与制作

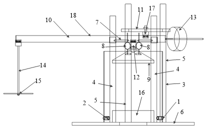
自主研发一种测量炭质泥岩湿化变形的试验装置及其试验方法。分为三个部分,第一部分为试验装置,试验装置为底部设有出水管和供水管的有机玻璃筒;第二部分为加载装置,加载装置为放置在底座上的杠杆加载仪;第三部分为测量装置,测量装置为两个端部设有千分表的支架。以上三个部分结合紧密、共同工作。试验时首先将有机玻璃筒固定,然后将测试的土体放置在透水石上,安装加载架,设置砝码,以此来模拟炭质泥岩在土层中受到的竖向压力。通过试验装置的进、供水管来模拟炭质泥岩在水循环中的环境,进而得到炭质泥岩在崩解过程中体积的变化规律。装置示意图见图4,装置实图见图5

注:1-进水管;2-出水管;3-有机玻璃筒;4-千分表立柱;5-立柱;6-底座;7-千分表支架;8-千分表;9-加压球座;10-水平杠杆;11-固定支架;12-加压杆;13-调平砝码;14-加载架;15-砝码托盘;16-透水石;17-固定轴。

4  湿化变形装置示意图

 

5  湿化变形装置实图

除湿化变形装置外,试验还需用到一些土工试验基本工具,例如透水石、环刀、刮土刀、滤纸等,见图6,另外也要用到一些精密测量仪器,例如游标卡尺、千分表和电子称等,见图7

 

 

 

 

 

    

a 环刀                       b 透水石

 

c 刮土刀                     d 滤纸

6  土工试验工具

 

a 游标卡尺                    b 千分表               c 电子称

     7 测量工具

试验的准备

1)试验场地及试验材料的准备

本次室内模型试验的场地选择在MG冰球突破官网公路工程实验中心C区实验大厅进行(如图8所示)。该实验大厅具有良好的试验条件,能够为此次室内降雨模型试验提供充足的试验空间,并满足本次室内制样设备所需的水、电等要求。

 

8  MG冰球突破官网公路工程实验中心

此次试验所需的材料主要为炭质泥岩,现场取回的炭质泥岩为未完全崩解的岩石,见图9,需在实验室内对其进行充分崩解,崩解后的炭质泥岩见图10

  

9  未崩解炭质泥岩      图10  崩解后炭质泥岩

3  不同含水率和压实度所需要的干土质量与水质量

/g

92%

94%

96%

98%

6%

174.63

178.42

182.22

186.02

10%

291.05

297.37

303.70

310.03

14%

407.47

416.32

425.18

434.04

18%

523.88

535.27

546.66

558.05

干土/g

2910.47

2973.74

3037.01

3100.28

选取崩解完全的炭质泥岩土样,干密度为2.015g/cm3,制作直径10cm高度20cm的试样,在不同含水率和压实度条件下所需的干土和水的质量如表3所示。通过数显式压力试验机并采用分层制样法分五层压样成型,首先根据试验方案中压实度及含水率计算各试样所需干土及水的质量;再将一定质量的干土和水充分拌和后用薄膜袋密封放置保湿箱内静置24h;然后将拌制好的土样均分成5份,分5次倒入预先定制好的钢模内进行静压。钢模的内直径10cm、高度21cm,其中多出的1cm由高度1cm、直径10cm的垫块填充,当压力机把垫块压至与钢模平齐时,试样刚好达到预定的压实度。静压完成后须让千斤顶继续施加压力并稳定一段时间后再卸载以防止试样回弹。最后,用其它垫块从底部把试样慢慢顶出。压样前钢模内须涂抹少许凡士林以便减少脱模时试样与钢模间的摩擦力。试样成型后用保鲜膜密封封装好后再次放入保湿箱内静置以备供试验所用。制样装置及制好后的试样分别见图11、图12

 

  

11  分层制样           图12  实验前的炭质泥岩试样

试验的实施

1)湿化变形试验

通过自主研发的湿化变形试验装置研究炭质泥岩的湿化变形规律,湿化试验的实施步骤如下:

a)调平:调节试验仪器左端杠杆上的调平砝码的位置,使之与未加砝码前右端杠杆保持平衡,并用螺母将其固定。

b)装样:将制好的试样从保湿箱内取出,缓慢装入筒壁带有孔眼的内筒,装入内筒须给内筒涂抹凡士林,保持润滑以减少筒壁与试样的摩擦力,注意装样过程中勿破坏试样。

c)加载:将装好试样的内筒放入外筒,下部垫上直径10cm的透水石,上部放置加载盖,调节加压杆为竖直方向并在内筒中央位置,施加砝码进行加载。

d)浸水与循环:先将试样在无水环境下加载1个浸水时间,然后将外筒灌满水,使整个试样泡在水中1个浸水时间,此为一个干湿循环。进行下一个循环时,需将试样连同内筒取出放进烤箱内烘干(50),烘干的过程中每隔一段时间将试样取出称重,当其含水率接近或达到初始含水率时,认为完成由湿到干的过程。反复循环,直至试验完成。

e)记录数据:将百分表安装在加载盖上,并将百分表的指针调零,注意预留试样的变形量,通过百分表的读数连续记录试样变形量。

2)直接剪切试验

采用直剪环刀对湿化变形后的试样进行取样,取样完毕后立即进行室内快剪试验,整个剪切试验的操作步骤均严格按公路土工试验规程(JTG E40—2007)的要求执行,具体实施步骤如下:

a)利用直剪环刀对湿化变形后的炭质泥岩进行取4个直剪试样,取样过程中不可破坏试样的原有结构;

b)将盛有试样的环刀,平口向下,刀口向上,对准剪切盒上盒口,在试样上同样放置滤纸和透水石,然后将试样缓慢压入剪切盒底;

c)顺次加上传压活塞、钢珠和加压框架;

d)在量力环上安装千分表,千分表的测杆应平行于量力环受力的直径方向;

e)慢慢顺时针方向转动手轮,至上剪切盒支腿与量力环钢球之间恰好接触时(即量为环中千分表指针刚开始走动时)立即停止转动手轮;

f)然后调整千分表,使其指针保持在零的位置(作为起始读数);

g)在快剪试样上施加垂直荷载,一个试样分别施加100kPa200kPa300kPa400kPa的垂直荷载,加载时一次次轻轻加上(施加的荷载已换算成砝码质量);

h)拔出固定插销,开始计时,以每分钟6圈的速率均匀转动手轮,使得上下盒之间开始匀速剪切;

i)使试样在3~5分钟内剪损,在剪切的过程中每10秒记录一次量力环中千分表读数;

j)当量力环中千分表指针读数不再增加或者有显著后退亦或剪切变形量达到4mm时,即可认为试样已经剪损,记录千分表指针的最大读数,即代表抗剪强度峰值;

k)逆时针转动手轮,卸除垂直荷载和加压设备,取出已剪损的试样,擦净剪切盒,装入下一个试样。

3)数据整理

通过湿化变形试验,可以得到各时间点下的炭质泥岩竖向变形量,对数据进行整理,再利用originexcel软件绘制变形量的关系曲线;同时将整理得到的各组试验的最大竖向变形输入正交分析软件,可以得到各个因素对炭质泥岩竖向变形的影响规律。直接剪切试验直接得到的是剪切仪应力环的变形量,对其进行处理可以得到不同法向应力下剪应力与剪切位移的关系曲线,进而可以得到各组炭质泥岩的抗剪强度指标。

总体而言,进行数据分析时注重对数据的剔除及拟合,以便得到较好的试验规律。最后,在得到试验数据的基础上,对试验现象及数据进行分析,并撰写试验报告。

(3)试验费用预算

项目实施过程中的费用主要包括以下几个方面:

1)科研业务费

测试分析费:1000

论文版面费:4000元(2篇)

2)试验材料费

试验仪器:3000

制样费:500

材料运输费:500

透水石、滤纸、环刀等:500

3)资料、打印费

资料费:250

打印费:250

 

共计:10000

 

2 预期成果

(1)基于正交设计原理,通过室内试验的方式获得荷载与浸水条件下预崩解炭质泥岩变形及强度变化特征,为炭质泥岩路基变形机理及长期变形预测方法研究和炭质泥岩分布地区的路基设计、建设、维护提供试验和理论依据,以此用于指导工程实践。

(2)依托本试验的试验结果,发表EI及其以上的文章1~2篇。

 

年度目标和工作内容(分年度写)

20181~201812

全面收集国内外关于路堤变形与强度方面的试验技术及理论成果,结合现有试验条件,制定本项目的研究计划方案;

进行炭质泥岩湿化变形试验及抗剪强度试验的初步设计;

设计并定制湿化试验仪器,准备试验所需的材料。

20191~201912

制作湿化变形试验试样;

组装并检查湿化变形装置,校核强度试验仪器;

试验的正式实施,对湿化变形及直剪试验的数据进行收集整理,分析得到试验结论;

试验报告的编写及项目的结题。

 

指导教师意见

 

项目申请人陈少壮等同学在《土力学》课程的学习中表现出对荷载与浸水条件下预崩解炭质泥岩变形及强度特征浓厚的兴趣和创新意识。在获知本人已经申请了炭质泥岩变形试验装置的专利后(实用新型专利:一种测量炭质泥岩崩解过程中体积变化的试验装置及其试验方法),于2017年底开始与本人交流是否可将现有专利进行改装,以便于探索性的做一些炭质泥岩在荷载及浸水条件下变形强度特性的试验,通过多次讨论,该试验小组提出的试验方案可行,试验结果能够对工程实践提供指导,具有较大的学术价值与工程意义。

鉴于此,本人建议立项研究。

 

签字:                   日期:

 

注:本表栏空不够可另附纸张